Курсовая работа: Трансмиссия автомобиля ИЖ 21251
Оглавление
1. ТРАНСМИССИЯ АВТОМОБИЛЯ ИЖ — 21251. 4
1.1. Краткая техническая характеристика автомобиля, назначение, устройство и работа трансмиссии. 4
1.3. Коробка передач. 6
1.4. Карданная передача. 8
1.5. Ведущий мост. 10
2. РАСЁТ ТЯГОВО – СКОРОСТНЫХ ПОКАЗАТЕЛЕЙ ТРАНСМИССИИ 14
3. ХОДОВАЯ ЧАСТЬ АВТОМОБИЛЯ ИЖ – 21251. 20
3.1. Кузов автомобиля. 20
3.2. Передняя подвеска. 20
3.3. Задняя подвеска. 22
3.4. Шины, колёса и ступицы.. 23
ВВЕДЕНИЕ
Автомобильный транспорт имеет большое значение в общей транспортной системе РФ, не его долю приходится свыше 23 всех грузовых перевозок в народном хозяйстве.
Основными направлениями экономического и социального развития страны, предусматривается освоение и расширение производства грузовых и специализированных автомобилей и автобусов, в первую очередь дизельных, увеличение выпуска малотоннажных грузовых автомобилей и электромобилей для внутригородских перевозок, значительное увеличение производства прицепов и полуприцепов для обеспечения перевозок автопоездами. В последнее время запланировано увеличение грузооборота автомобильного транспорта общего пользования в 1,3…1,4 раза, а пассажирооборота автобусов – на 16…18%
Транспорт важнейший элемент инфраструктуры, под который понимают отрасли народного хозяйства, создающие общие его функционирования. Транспорт оказывает активное влияние на процесс расширенного воспроизводства, величину запасов, сырья, топлива и промышленной продукции, производственную мощность складов, т.е. на эффективность функционирования различных отраслей народного хозяйства.
В связи с этим становятся более востребованными инженеры – механики автотранспортной специальности, которые в соответствии с квалификационной характеристикой должны знать устройство автотранспортных средств и тенденции развития конструкции автомобиля в целом и основных узлов и агрегатов.
Целью данной работы является закрепление знаний и навыков, приобретённых на лекциях, лабораторных занятиях и при самостоятельной работе; познание автомобиля как сложной технической системы.
1. ТРАНСМИССИЯ АВТОМОБИЛЯ ИЖ — 21251
1.1 Краткая техническая характеристика автомобиля, назначение, устройство и работа трансмиссии
Автомобиль ИЖ – 21251 – легковой автомобиль с кузовом типа «комби», число мест, включая место водителя – 5. Масса снаряжённого автомобиля — 1040 кг, полная масса автомобиля – 1440 кг, грузоподъёмность – 400 кг. Максимальная скорость движения на высшей передаче составляет 140 км/ч.
На автомобиль установлен двигатель 412 Э, с рабочим объёмом 1,58 л. Это четырёхтактный, четырёхцилиндровый, карбюраторный двигатель, с рядным расположением цилиндров. Номинальная мощность двигателя при частоте вращения 5800 об/мин составляет 75 л. с. или 55,2 кВт. Максимальный крутящий момент составляет 114,2 Н·м при частоте вращения 3000 об/мин.
Трансмиссия автомобиля представляет собой совокупность механизмов, передающих вращающий момент от коленчатого вала двигателя к ведущим колёсам и изменяющих вращающий момент и частоту вращения ведущих колёс по значению и направлению. Трансмиссия автомобилей ИЖ – 21251 состоит из следующих элементов:
1.2 Сцепление
Сцепление необходимо для кратковременного отъединения вала двигателя от коробки перемены передач при переключении передач и для плавного их соединения при трогании.
На автомобилях ИЖ – 21251 установлено сухое однодисковое сцепление с центральной нажимной пружиной и гасителем крутильных колебаний (демпфером), смонтированном на ведомом диске, и гидравлическим приводом выключения сцепления.
Сцепление является неразборным узлом: в нём не предусмотрены какие-либо регулировки при сборке узла и в процессе эксплуатации.
Сцепление состоит из двух основных частей: нажимного диска с кожухом в сборе и ведомого диска, заключённых в литой из алюминиевого сплава картер, имеющий форму колокола.
Схема сцепления автомобиля ИЖ – 21251 представлена на рисунке 1.1.
Рисунок 1.1. Сцепление автомобиля ИЖ – 21251
1 – картер сцепления, 2 – шайба; 3 – гайка; 4 – шпилька крепления картера сцепления; 5 – кожух в сборе с нажимным диском; 6 – подшипник выключения сцепления; 7 – обойма подшипника; 8 – соединительное звено; 9 – сальник в сборе; 10 – болт крепления кожуха; 11 – шайба; 12 – установочный штифт кожуха сцепления; 13 – маховик; 14 – гайка; 15 – шайба; 16 – шпилька крепления картера сцепления; 17 – штифт установочный трубчатый картера сцепления; 18 – гайка; 19 – шпилька крепления стартера и картера сцепления; 20 – чехол грязезащитный; 21 – винт крепления кронштейна вилки; 22 – ось вилки; 23 – кронштейн вилки; 24 – втулка вилки; 25 – вилка выключения сцепления; 26 – пружина оттяжная вилки; 27 – щиток в вентиляционный; 28 – штифт: 29 – гайка пластинчатая крепления вентиляционного щитка; 30 – шайба; 31 – болт крепления грязезащитного щитка; 32 – ведомый диск в сборе; 33 – щиток грязезащитный.
1.3 Коробка передач
Коробка передач служит для изменения силы тяги и скорости движения автомобиля в зависимости от условий работы. С помощью коробки передач можно изменить направление движения на задний ход и отключить работающий двигатель от трансмиссии при остановке.
Действие коробки передач основано на том, что вращение от коленчатого вала двигателя передаётся на ходовую часть через зубчатые шестерни с определённым передаточным числом на каждой передаче.
Число, показывающее, во сколько раз изменяется частота вращения ведомого вала по сравнению с ведущим или во сколько раз ведомая шестерня больше (меньше) ведущей по числу зубьев, называется передаточным числом. Если в передаче участвует несколько пар шестерён, то общее передаточное число получается умножением передаточных чисел всех пар шестерён, участвующих в передаче.
На автомобилях ИЖ – 21251 установлена пятискоростная коробка передач с четырьмя скоростями для движения вперёд и одной – назад.
Все шестерни коробки передач имеют косые зубья, кроме шестерен заднего хода и соответствующего венца блока промежуточных шестерен. Коробка снабжена синхронизаторами для включения первой, второй, третьей и четвертой передач. Первичный вал, шестерни первой, второй и третьей передач находятся в постоянном зацеплении с блоком промежуточных шестерен. Ведомая шестерня заднего хода скользящая на шлицах ступицы. Шестерни первой, второй и третьей передач установлены на вторичном валу на стальных втулках. В промежуточную шестерню заднего хода запрессована бронзовая втулка. Механизм переключения передач смонтирован на боковой крышке.
В картере на неподвижном стержне установлены две скользящие вилки включения передних передач. Вилка заднего хода вынесена с помощью поперечного валика на сторону, противоположную боковой крышке.
Стальной кронштейн задней опоры двигателя размещен на фланце в средней части удлинителя.
Коробка управляется рычагом переключения передач, смонтированным на напольном механизме.
Схема коробки передач автомобиля ИЖ – 21251 представлена на рисунке 1.2.
Рисунок 1.2. Коробка передач автомобиля ИЖ – 21251
1 – вал первичный; 2 – кольцо стопорное; 3 – подшипник роликовый; 4 – кольцо; 5 – гайка; 6 – шайба пружинная; 7 – шайба стопорная; 8 – шестерня III передачи; 9 – шайба распорная; 10 – шестерня II передачи; 11 – шестерня заднего хода (муфта включения I и II передач); 12 – сухарь синхронизатора: 13 – шестерня I передачи; 14 – шестерня – ведущая привода спидометра; 15 – шарик стопорной шестерни; 16 – вал вторичный: 17 – удлинитель; 18 – втулка биметаллическая; 19 – сальник внутренний: 20 – сальник наружный; 21 – вилка скользящая; 22 – кронштейн задней опоры двигателя; 23 – редуктор спидометра; 24 – шайба упорная; 25 – втулка шестерен; 26 – ступица; 27 – пружина; 28 – трубка распорная: 29 – ось блока: 30 – блок шестерен промежуточного вала: 31 – муфта включения III и IV передач; 32 – кольцо блокирующее; 33 – иглы блока: 34 – кольцо упорное игл; 35 – шайба передняя упорная блока; 36 – шестерня паразитная заднего хода; 37 – ось паразитной шестерни; 38 – рычаг переключения; 39 – переключатель передач; 40 – пружина фиксатора вилок; 41 – шарик фиксатора; 42 – стержень вилок; 43 – вилка переключения передач; 44 – стопор осей: 45 – валик переключения заднего хода; 46 – вилка включения заднего хода; 47 – крышка люка шестерни заднего хода; 48 – картер.
Применение синхронизаторов в коробке передач облегчает управление автомобилем, обеспечивает бесшумность включения передач и повышает долговечность зубчатых муфт шестерён. Передаточные числа:
I – 3,49; II – 2,04; III – 1,33; IV – 1,00; задний ход – 3,39.
1.4 Карданная передача
При размещении одного агрегата относительно другого на некотором расстоянии вращающий момент передаётся через карданные передачи.
Они предназначены для передачи вращающего момента между агрегатами, оси валов которых могут смещаться при движении. Их применяют главным образом на автомобилях для соединения ведомого вала коробки передач с валами раздаточной коробки и ведущих мостов. Простая карданная передача состоит из карданных шарниров и вал. Карданные шарниры обеспечивают угловое перемещение карданного вала (до 24°), а свободные шлицевые соединения вилок карданного шарнира с валом – изменение расстояния между шарнирами. Валы карданной передачи изготавливают из тонкостенных стальных труб. На концах к трубе приварены вилки карданных шарниров (или с одной стороны – вилка, а с другой — шлицевая втулка).
На автомобиле установлена карданная передача состоящая из одного вала и двух карданных шарниров с игольчатыми подшипниками, скользящей и фланцевых вилок.
Схема карданной передачи представлена на рисунке 1.3.
Рисунок 1.3. Карданная передача
1 – удлинитель картера коробки передач; 2 – вал вторичный; 3 – грязеотражатель удлинителя; 4, 5 – резиновые сальники; 6 – грязеотражатель скользящей вилки; 7 – вилка скользящая; 8 – пластина балансировочная; 9 – труба карданного вала; 10 – вилка; 11 – вилка фланцевая; 12 – болт; 13 – фланец ведущей шестерки заднего моста; 14 – шайба пружинная; 15 – гайка; 16 – мост задний; 17 – корпус игольчатого подшипника; 18 – проушина вилки; 19 – игла; 20 – кольцо стопорное пружинное; 21 – шайба уплотняющая с тормозным торцем; 22 – сальник карданного подшипника резиновый; 23 – крестовина кардана.
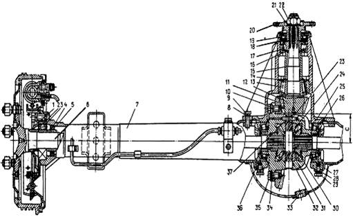
1.5. Ведущий мост
Ведущим называют мост, механизмы которого передают вращающий момент от коробки передач колёсам. Он включает в себя корпус (картер), главную передачу, дифференциал и полуоси.
Главная передача – это механизм трансмиссии, увеличивающий вращающий момент после коробки передач. В автомобилях вращающий момент в главной передаче передаётся под прямым углом. Главная передача может быть одинарной, состоящей из одной пары шестерён, и двойной, состоящей из двух пар шестерён.
Одинарная передача может быть обычной и гипоидной. Гипоидная (сокращённо от гиперболоидная) передача осуществляется коническими шестернями со скрещивающимися осями. Преимущество гипоидной передачи в том, что ось её ведущей шестерни расположена ниже оси ведомой (оси заднего моста). Поэтому центр масс автомобиля ниже и устойчивость его лучше.
Гипоидная передача более надёжна и бесшумна, чем передача с обычными коническими шестернями со спиральными зубьями.
Ведущие шестерни выполняют заодно с валом или съёмными. Ведомые шестерни в основном изготавливают в виде съёмных венцов, прикрепляемых болтами или заклёпками к корпусу дифференциала. В двойной главной передаче имеются одна пара конических и одна пара цилиндрических шестерён. Для обеспечения бесшумной работы конические шестерни выполняют со спиральными зубьями.
Во время движения автомобиля ведущий вал вместе с малой конической шестернёй приводит во вращение ведомую коническую шестерню, закреплённую на корпусе дифференциала.
Дифференциал – это механизм трансмиссии, распределяющий подводимый к нему вращающий момент между полуосями ведущих колёс и позволяющий им вращаться с различными скоростями. Когда автомобиль движется прямо и по ровной дороге, оба ведущих колеса встречают одинаковое сопротивление качению. При этом ведомая шестерня главной передачи вращает вокруг своей оси корпус дифференциала с крестовиной и сателлитами. Сателлиты, находясь в зацеплении с правой и левой полуосевыми шестернями, зубьями приводят их во вращение с одинаковой частотой. В этом случае сателлиты вокруг собственной оси не вращаются.
Полуоси. Полуосевые шестерни шлицованными отверстиями насажены на полуоси. Другие концы полуосей соединены фланцами со ступицами ведущих колёс.
На автомобиле установлен гипоидный задний мост с гипоидной главной парой, состоящий из следующих трех основных частей:
1. Картер заднего моста (балка) — собран из двух штампованных из листовой стали половинок и двух кованных фланцев, приваренных дуговой сваркой к трубчатым концам балки.
Средняя расширенная часть балки имеет сквозной проем, к задней стороне которого герметично приварен (усиливающий картер) штампованный из листовой стали сферический колпак, в котором размещается выступающая из редуктора часть ведомой шестерни с дифференциалом. Передний торец, обработанный и усиленный внутри стальными накладками, служит для крепления редуктора заднего моста.
На расстоянии приблизительно 455 мм от центра картера привариваются опорные площадки-подушки для крепления рессор.
2. Редуктор заднего моста с гипоидными шестернями главной передачи, имеет передаточное отношение – 3,91.
Характерной конструктивной особенностью гипоидного редуктора является смещение оси шестерни и горловины картера относительно оси ведомой шестерни вниз на 32 мм и 11 мм вправо относительно продольной оси автомобиля.
3. Полуоси (полуразгруженного типа) в сборе представляют собой узел, собранный с маслоуловителем, с радиальным шариковым подшипником, напрессованным и запертым па полуоси запорной втулкой, напрессовываемой в нагретом (до 250 – 300°С) состоянии.
Подшипник полуоси – закрытого типа с одноразовой смазкой, заложенной туда на весь срок службы до капитального ремонта автомобиля.
Свободный конец полуоси имеет эвольвентные шлицы и сопрягается с шестерней полуоси, установленной в коробке дифференциала редуктора.
Второй конец полуоси с фланцем, опирающийся па подшипник, удерживается в гнезде фланца картера с помощью стальной пластины, прижимающей наружное кольцо подшипника, по наружному диаметру которого центрируется тормозной щит с колодками. Пластина вместе с тормозным щитом крепится к торцу фланца с помощью четырех болтов.
Схема заднего моста автомобиля представлена на рисунке 1.4.
Рисунок 1.4. Задний мост автомобиля ИЖ – 21251
1 – пластина крепления подшипника; 2 – втулка упорная; 3 – подшипник заднего колеса; 4 – втулка запорная подшипника; 5 – манжета полуоси; 6 – полуось; 7 – картер заднего моста; 8 – шайба пружинная; 9 – болт крепления редуктора; 10 – картер редуктора; 11 – шестерня ведомая: 12 – шестерня ведущая; 13 – подшипник ведущей шестерни задний; 14 – прокладки регулировочные; 15 – втулка распорная; 16 – прокладки регулировочные; 17 – подшипник ведущей шестерни передний; 18 – шайба маслоотражательная; 19 – манжета ведущей шестерни; 20 – фланец крепления карданного вала с грязеотражателем в сборе; 21 – шайба; 22 – гайка; 23 – штифт пальца сателлитов; 24 – коробка дифференциала; 25 – подшипник дифференциала; 26 – гайка регулировочная; 27 – стопор; 28 – шайба пружинная; 29 – болт крепления стопора; 30 – шестерня полуоси; 31 – сателлит; 32 – палец сателлитов; 33 – пробка маслоналивного отверстия; 34 – шайба пружинная; 35 – болт крепления ведомой шестерни; 36 – крышка подшипников дифференциала; 37 – шайба опорная.
2. РАСЧЁТ ТЯГОВ-СКОРОСТНЫХ ПОКАЗАТЕЛЕЙ ТРАНСМИССИИ
В этой части работы проведём расчёт крутящих моментов и частот вращения на всех выходных валах агрегатов трансмиссии (коробка передач, главная передача) и на всех режимах.
Для этого необходима внешняя скоростная характеристика (ВСХ) двигателя автомобиля, представленная на рисунке 2.1.

Рисунок 2.1. Внешняя скоростная характеристика двигателя 412 Э
За исходные параметры принимаются две точки на ВСХ двигателя:
максимальный крутящий момент и соответствующая ему частота вращения – Тe max и nт;
максимальная мощность и соответствующая частота вращения – Ne max и nN.
Таким образом, получаем:
1) Тe max = 114,2 Н·м при nт = 3000 об/мин;
2) ТN = 75 л. с. = 55,2 кВт при nN = 5800 об/мин.
Передаточные числа коробки передач:
Передаточное число главной передачи U0 = 3,91.
Определяем величину крутящего момента при максимальной мощности по формуле:

где: ТN – величина крутящего момента при максимальной мощности, Н·м;
Ne max – максимальная мощность двигателя, кВт, Ne max = 55,2 кВт;
nN – частота вращения двигателя при максимальной мощности, об/мин, nN = 5800 об/мин.

Проверяем соответствие кривых мощности и крутящего момента по нескольким точкам по формуле:

где: Te – крутящий момент при выбранной частоте вращения, Н·м;
ω – угловая скорость вращения коленчатого вала двигателя, рад/с;
n – частота вращения двигателя, об/мин.
1) При n = 3400 об/мин и Te = 114 Н·м:

2) При n = 2200 об/мин и Te = 112 Н·м:

Таким образом, кривые мощности и крутящего момента на ВСХ соответствуют друг другу.
Определяем литровую мощность двигателя по формуле:

где: Vh – литраж двигателя – сумма рабочих объёмов всех цилиндров, выраженная в литрах, Vh = 1,58.

Определяем коэффициенты приспосабливаемости двигателя:
по крутящему моменту:

по частоте вращения:

Общий (полный) коэффициент приспосабливаемости двигателя определяется следующим образом:

Определяем диапазон коробки передач:

где: UН – передаточное число низшей передачи, UН = 3,49;
UВ – передаточное число высшей передачи, UВ = 1,00.

между I и II передачей: U1/U2 = 3,49/2,04=1,71;
между II и III передачей: U2/U3 = 2,04/1,33=1,53;
между III и IV передачей: U3/U4 = 1,33/1,00=1,33.

где: n – число ступеней коробки передач.
Определяем тягово-скоростные характеристики двигателя. Для этого определяем крутящие моменты и частоту вращения валов на выходе коробки передач и главной передачи на каждой передаче при максимальном крутящем моменте (то есть при Те max = 114,2 Н·м и nТ = 3000 об/мин), и при максимальной мощности двигателя (то есть при ТN = 90,9 Н·м и nN = 5800 об/мин).
крутящий момент на I передаче на вторичном валу КП:
Т1 = 114,2·3,49 = 398,5 Н·м;
на выходе главной передачи:
Т0.1 = 398,5·3,91 = 1558,1 Н·м;
частота вращения соответственно:
nТ.1 = 3000/3,49 = 859,6 об/мин;
nТ0.1 = 859,6/3,91 = 219,8 об/мин.
крутящий момент на I передаче на вторичном валу КП:
ТN.1 = 90,9·3,49 = 317,2 Н·м;
на выходе главной передачи:
ТN0.1 = 317,2·3,91 = 1240,2 Н·м;
частота вращения соответственно:
nN.1 = 5800/3,49 = 1661,9 об/мин;
nN0.1 = 1661,9/3,91 = 425,0 об/мин.
крутящий момент на II передаче на вторичном валу КП:
Т2 = 114,2·2,04 = 232,9 Н·м;
на выходе главной передачи:
Т0.2 = 232,9·3,91 = 910,6 Н·м;
частота вращения соответственно:
nТ.2 = 3000/2,04 = 1470,6 об/мин;
nТ0.2 = 1470,6/3,91 = 376,1 об/мин.
крутящий момент на II передаче на вторичном валу КП:
ТN.2 = 90,9·2,04 = 185,4 Н·м;
на выходе главной передачи:
ТN0.2 = 185,4·3,91 = 724,9 Н·м;
частота вращения соответственно:
nN.2 = 5800/2,04 = 2843,1 об/мин;
nN0.2 = 2843,1/3,91 = 727,1 об/мин.
Аналогичным образом проводим расчёты для III и IV передач. Результаты расчётов сводим в таблицы 1 и 2.
Крутящие моменты и частоты вращения выходных валов агрегатов
Трансмиссия

Что такое трансмиссия? Какое ее назначение, устройство? Чем отличаются разные виды трансмиссий: механическая, гидравлическая, гидростатическая, электромеханическая. Какие поломки трансмиссии встречаются чаще всего?
Трансмиссия автомобиля – это целый комплекс механизмов, который обеспечивает функционирование всех его движущих механизмов, передаёт им энергию ДВС. Дословно слово «transmission» с английского языка на русский можно перевести следующим образом: «перенос», «передача», «перевод». Фактически даже простая цепная передача на велосипеде – это уже трансмиссия. Но применительно к велосипедам слово «трансмиссия» не прижилось. Принято говорить именно «передача». А вот в сфере машиностроения, транспортных технологий понятие «трансмиссия» применяется и к механизмам, соединяющим ДВС с движущимися элементами, и к системам, которые обеспечивают функционирование таких механизмов.
Хотя, если речь уже зашла о велосипеде, то на его примере легче всего наглядно объяснить суть трансмиссии как-таковой. Чтобы передвигаться быстро на велосипеде, нужна высокая частота вращения заднего ведущего колеса. Цепная передача идеально позволяет решить эту задачу, не прибегая к изменению диаметра колеса. Правда, если мы рассматриваем устройство автомобилей, то уже появляется двигатель, и конструкция усложняется, как и спектр её «обязанностей». Например, во время движения авто ДВС постоянно нужно затрачивать энергию на преодоление всевозможных сопротивлений, в том числе преодоление инерции самого автомобиля.
От качества механизмов трансмиссии (МТ) зависит расход топлива, безопасность и комфорт водителя, пассажиров транспортного средства, эффективность выполнения тех или иных задач. Например, МТ погрузчика обеспечивают оператору комфортное взаимодействие с погрузчиком, беспрепятственно подъезжать к стеллажам и аккуратно разгружать его. От МТ комбайна зависит отлаженность передачи действий от ДВС механизмам жатвенной части. От МТ карьерного самосвала зависит то, сможет ли он обеспечить эффективный старт после полной загрузки кузова или движение в гору с высокой скоростью.
Назначение и схемы трансмиссий
Прямое назначение трансмиссии автомобиля — пошагово регулировать крутящий момент от маховика и распределять его по ведущим колёсам.
МТ позволяют согласовать работу ДВС с сопротивлением движению транспортного средства, расширяя тяговое усилие на ведущих колесах, диапазон изменения оборотов.
Схема трансмиссии автомобиля зависит от того – переднеприводный или заднеприводный автомобиль перед нами.
У транспортного средства с приводом на задние ведущие колеса в составе трансмиссии чаще всего можно встретить сцепление, коробку передач, карданный механизм, задний ведущий мост в сборе. Такой вариант очень популярен у коммерческого транспорта (включая, грузовики, автобусы).
У транспорта с приводом на передние колеса (самый распространённый вариант у легковых авто) в состав трансмиссии чаще всего входят: сцепление, трансэксл, карданный привод на передние ведущие колеса и шарниры равных угловых скоростей.
Уточнение «чаще всего» при описании конструкции сделано по той причине, что некоторые элементы могут «перекочёвывать». Например, трансэксл можно встретить в конструкции некоторых автомобилей и с задним приводом. К такому конструктивному решению не раз прибегали при производстве некоторых моделей Chevrolet, Nissan Alfa Romeo. Особенно решение популярно у спорткаров с независимой подвеской. Трансэксл может соединяться с ДВС при помощи различных валов (карданного, с резиновыми муфтами).
В трансмиссионную схему всех полноприводных авто с ручным управлением и ряда транспортных средств с дополнительным оборудованием (например, коммунальной техникой) также входит раздаточная коробка.

Отдельно стоит обратить внимание на гидромеханические схемы. У них нет сцепления, но каждая ступень КПП оснащается автономным элементом переключения.
Что входит в трансмиссию автомобиля?
Узлы трансмиссии автомобиля:
- Сцепление, муфта сцепления или фрикцион (последний вариант часто встречается на сельскохозяйственной технике, например, тракторах). Разъединяет двигатель от трансмиссии и плавно соединяет их при переключении передач, при старте движения. Основа большинства сцеплений — фрикционный диск или диски, прижатых к маховику или сжатых друг с другом. Управлять сцеплением можно механическим способом (педалью), посредством гидро-, электропривода.
- Коробка передач (КПП). Главная функция любой КПП — изменение отношения между угловыми скоростями, крутящими моментами валов, угловыми и линейным перемещениями (то есть изменение передаточного отношения). Агрегат позволяет изменить крутящий момент, скорость и направление движения транспортного средства, а также разъединить двигатель с трансмиссией. Устройство агрегата зависит от типа КПП.
- Трансэксл — ведущий мост в блоке с коробкой передач.
- Кардан — механизм, передающий крутящий момент между валами у переднеприводных авто и от коробки к задним колесам на заднеприводных.
- Картер. Кожух, в котором располагаются главная передача, полуоси для крепления ступиц ведущих колец и дифференциал.
- Главная передача. Увеличивает крутящий момент и передаёт его на полуоси ведущих колес, адаптирует мощь двигателя под эксплуатационные условия.

- Дифференциал. Распределяет крутящий момент между приводными валами и обеспечивает возможность колёс вращаться с разными угловыми скоростями. От дифференциала зависит безопасность езды при поворотах на сухой гладкой дороге. Дифференциал может быть исполнен в виде муфты (вязкостной или фрикционной) или червячных полуосевых шестерен (дифференциал Торсен) с автоматической самоблокировкой механизма в момент разности крутящих моментов на приводном вале и корпусе.
- Полуоси. Передают крутящий момент от зубчатого колеса дифференциала непосредственно на колесо (через ступицу).

- Шарниры угловых скоростей. Передают крутящий момент, идущий от дифференциала к ведущим колесам. ШРУСы в отличие от передачи способны беспрепятственно работать с существенными углами поворота (до 70 градусов).

- Раздаточная коробка («раздатка»). Устройство, направленное на распределение усилия двигателя по ведущим колесам. Раздаточная коробка помогает нарастить крутящий момент при езде по плохим дорогам, бездорожью, распределить крутящий момент между приводными осями транспортного средства.
Для повышения функциональности, эргономичности, конкурентоспособности устройство трансмиссии автомобиля постоянно совершенствуют. Рассмотрим популярные полноприводные МТ 4Matic, xDrive, 4Motion, Quattro.
Особенности популярных трансмиссий 4Matic, xDrive, 4Motion, Quattro
- Системы полного привода 4Matic (установлены на многочисленные легковые модели Mercedes-Benz) с постоянным полным приводом включают межколесный и межосевой дифференциалы свободного типа, позволяющих разделить крутящий момент ДВС на две оси. Каждая из осей благодаря свободным дифференциалам может беспрепятственно вращаться с различной скоростью. Кроме того, у 4Matic предусмотрен контроль за движением посредством системы курсовой устойчивости (предусмотрен контроль тягового усилия, антиблокировочная система тормозов и антипробуксовочный механизм).
- Полноприводные трансмиссии xDrive (разработка BMW) отличаются наличием фрикционной многодисковой муфты. Она выполняет роль дифференциала. Также одна из главных особенностей решения состоит в том, что системой обеспечена возможность перераспределения межосевого крутящего момента в максимально широком диапазоне (0 до 100%).
- Система Quattro (Audi). Отличительная особенность – МТ и ДВС расположены продольно. У большинства трансмиссий Quattro присутствует свободный дифференциал с электронной блокировкой. Благодаря ней автоматически отпадает проблема пробуксовки ведущих колёс при разгоне на скользком дорожном полотне.
- 4 Motion (популярный МТ Volkswagen). Особенность схемы — крутящий момент ДВС распределяется по осям в зависимости от ситуации на дороге.
У большинства трансмиссий Quattro и 4Motion присутствует свободный дифференциал с электронной блокировкой. Благодаря ней автоматически отпадает проблема пробуксовки ведущих колёс при разгоне на скользком дорожном полотне.
Классификация
Трансмиссии принято классифицировать в зависимости от способа передачи энергии (типа преобразователя крутящего момента, привода транспортного средства использованной коробки передач.

В зависимости от способа передачи энергии выделяются следующие виды трансмиссии автомобиля:
- Механическая. Энергия передаётся посредством механического трения в сцеплении, взаимодействия шарниров, зубчатых колёс.
- Гидромеханическая. Крутящий момент возникает за счёт механического трения и работы гидравлики. ТМ здесь работают благодаря гидромуфте, гидротрансформатору.
- Гидравлическая. Вращение обязано нагнетания масла к гидротурбине под высоким давлением. То есть передача энергии осуществляется посредством жидкости.
В зависимости от привода выделяют переднеприводную, заднеприводную и полноприводную трансмиссию. О том, как они отличаются, можно судить, исходя из особенностей схемы устройств, приведённых в начале нашего материала.
В зависимости от коробки передач трансмиссия бывает:
1. Механическая.
2. Автоматическая.
3. Роботизированная.
4. Вариативная (бесступенчатая) – с вариатором.
Подробнее о трансмиссиях с разными типами коробок передач читайте в нашем материале «Коробка передач».
Механическая трансмиссия
Передача мощности производится за счёт механических передач вращательного движения.
Плюсы:
- Низкая стоимость.
- Высокий КПД.
- Малые габариты.
Механические системы обладают наивысшим КПД среди прочих, наименьшей массой, наиболее просты в производстве.
Важно! Не нужно путать механический способ передачи энергии и механическую коробку передач. Да, чаще всего решения с механической коробкой – это именно решения с механической передачей энергией. И именно её все и называют механическая трансмиссия автомобиля. Но это не аксиома. Среди гусеничной техники есть решения, где энергия передаётся через мехпередачи, при этом коробки стоят отнюдь не механические.
Гидромеханическая трансмиссия
Для агрегата характерно наличие гидромеханической коробки передач (в конструкции объединены механический редуктор + гидродинамический преобразователь крутящего момента). Наибольшая эффективность от системы наблюдается при наличии в ней автоматического управления.
Гидротрансформатор с колёсами с криволинейными лопатками, являющийся обязательным элементом такого агрегата, автоматически изменяет крутящий момент, передаваемый от двигателя.
Процесс передачи крутящегося момента подчиняется изменениям нагрузки на выходном валу КП.
- Муфта свободного хода запускает процесс вращения колеса реактора только в одном направлении. Оно совпадает с траекторией вращения насосного колеса.
- Рабочая зона под давлением заполняется маслом.
- Насосное колесо вращается.
- Лопатки насосного захватывают масло.
- Под влиянием центробежной силы масло оказывается на турбинном колесе.
- Масло поступает в реакторе.
- Направление потока жидкости изменяется.
- Масло снова поступает в насосное колесо.
Таким образом, на лицо – замкнутая циркуляция масла.
Плюсы и минусы гидромеханических решений
Гидромеханические решения ценят за широкий диапазон регулирования передаточных чисел, возможность обеспечить бесступенчатое изменение параметров потока энергии, реверсирование, быстрое реагирование на изменение условий эксплуатации, ситуацию на дороге. Предоставляется возможность автоматизировать процесс переключения скоростей, установить полный контроль за фильтрацией крутильных колебаний.
Гидромеханические МТ очень популярны у сельскохозяйственных, коммунальных машин, автопоездов большой проходимости. Решение отлично подходит для передачи мощностного потока от ДВС на привод ведущих мостов.
Распространена установка таких агрегатов и на карьерные самосвалы. Удаётся исключить динамические нагрузки на валы, превышение трения дисков.
Самые популярные и эффективные – гидромеханические автоматические трансмиссии.
Правда, при множестве достоинств, есть у них и недостатки:
- Отношение крутящего момента на ведомом звене по отношению к крутящему моменту на ведущем звене (то есть коэффициент трансформации) достаточно низок (не превышает 3).
- Есть сложности с нарастанием тормозного усилия (эта проблема остро чувствуется при вхождении в режим торможения ДВС.
- Высокая материалоемкость.
Гидравлическая трансмиссия
Вместо сухого трения механических МТ задействован гидротрансформатор. Для передачи крутящего момента применяются планетарные ряды, помогающие создать идеальные условия для реализации широкого спектра передаточных отношений. В том числе, такие решения не боятся сильной вибронагруженности.

Огромные преимущества решения:
- При переключениях передач не происходит разрыва потока мощности.
- Решение отлично обеспечивает передачу крутящегося момента.
- Для плавной работы с передачами не нужно прикладывать ударные усилия.
Но чтобы получить отдачу от агрегата с гидротрансформатором, приходится заботиться о монтаже
своей гидромуфты для каждой передачи.
Гидростатическая трансмиссия
ГСТ передаёт энергию вращения от ДВС к колесу или шнеку через насос с помощью направления рабочей жидкости к гидромотору.
Решение чаще всего монтируется на транспорте, если важно обеспечить большое передаточное число. Главные объекты, где устанавливаются МТ такого типа – зерноуборочные комбайны, дорожно-строительные машины, бульдозеры.
ГСТ не препятствует пробуксовке машин на вязких грунтах, а при движении вперед-назад легко обеспечить прямолинейность движения. Даже если отвал бульдозера максимально отпущен, то при медленном продвижении вперёд транспортное средство не глохнет. При работе на бульдозере это особенно ценно.

ГСТ не отличается высоким уровнем КПД, но ДВС у таких ТМ работает более экономично, если сравнивать с механической трансмиссией.
Электромеханическая трансмиссия
Электромеханическая трансмиссия – это решение с тяговым генератором, тяговым мотором (или несколькими моторами).
Объекты установки:
- cамосвалы большой грузоподъёмности,
- автобусы большой вместимости,
- транспорт высокой проходимости (вездеходы, уборочно-транспортные машины),
- гусеничные трактора,
- многозвеньевые поезда высокой проходимости,
- карьерные самосвалы
Главная особенность – энергия передаётся на генератор и при необходимости может использоваться повторно. Торможение происходит с возвратом энергии. Если монтирована аккумуляторная система, можно производить замедленное движение с отключенным ДВС. В электроэнергию может преобразовываться вся мощь ДВС.
Среди недостатков – внушительные габариты, высокая себестоимость, КПД ниже, нежели у механических систем.
Наиболее частые поломки трансмиссии
- Сильный шум при включении сцепления – «симптом» износа пружин (вилки, демпфера) или возникновение зазора в шлицевом соединении. Чаще всего решение проблемы – замена ведомого диска или пружин, но иногда достаточно просто основательней закрепить пружину вилки.
- Увеличение шума при выключении сцепления – сигнал о износе, повреждении подшипников вала КПП. Как правило, проблема решается заменой подшипника.
- «Смазанное» включение передач. Возникает как ответная реакция на износ многих деталей. Важна детальная диагностика и замена одной или нескольких деталей – пружин фиксаторов, шариков, «сухарей», шестерни, муфты, рычага выбора передач, блокирующих колец синхронизаторов.
- Из коробки передачи течёт масло. Чаще всего проблема – в износе сальников или уплотнительных прокладок, и они нуждаются в замене. Но проблема может быть и в ослаблении крепления картера или его крышек. В этом случае требуется регулировка крепежа (гаек).
- КПП издаёт гул, шум. Такое нередко бывает при недостатке уровня масла в коробке. И здесь важно понять причину утечки масла, устранить ее, а затем восстановить уровень масла до требуемых норм. Кроме того, проблема может быть связана с износом синхронизаторов, подшипников, шестерен. В этом случае требуется их замена.
- При подъёме транспортного средства в гору начинается пробуксовка. Переключение на пониженную передачу начинается раньше времени. Здесь, как и в предыдущем случае, причина чаще всего – падение уровня масла. Но нельзя исключать и одновременный износ манжет поршня и дисков муфты. Это может быть прямым стимулом к их замене.
- Cтук на холостом ходу ДВС. Это свидетельство окончания времени эксплуатации дисков фрикционных муфт. Решить проблему можно только их заменой.
Интерактивное обучение! На базе LCMS ELECTUDE доступен специальный обучающий курс-тренинг и тестовая система проверки знаний «Трансмиссия автомобиля».
29 учебных модулей – это отличные возможности для того, чтобы изучить устройство, принцип работы разных трансмиссий. Огромное внимание уделяется устройству и сервисному обслуживанию.
Видеообзор интерактивного тренинга «Трансмиссия»
Дополнительную информацию вы всегда можете уточнить в LCMS ELECTUDE. Это не только обширная база знаний для тех, кто постигает транспортные технологии, но и площадка, которая позволяет прокачать навыки посредством симулятора, оценить знания с помощью системы тестов. Платформа отлично подходит для обучения автодиагностов и автомехаников.
Трансмиссия автомобиля: что такое, типы, назначение, устройство, принцип работы
Трансмиссия служит для передачи крутящего момента от коленчатого вала двигателя на ведущие колеса, а также для изменения величины крутящего момента и его направления.
Трансмиссия автомобиля это комплекс механизмов, назначение которых — передача крутящего момента от двигателя к ведущим колёсам. Это заставляет колёса вращаться, благодаря чему авто начинает своё движение.

Кроме этого, этот важный механизм может распределять крутящий момент между всеми колёсами, а также менять направление вращения и величину. В этом помогают различные детали и механизмы, без которых бы никак не получилось нормально эксплуатировать автомобиль. Например, это такие агрегаты трансмиссии, как главная передача, автоматическая и механическая коробка передач (КПП), сцепление, дифференциал.

В статье простым языком расскажу, что такое трансмиссия, за что отвечает, какие основные составные части, как работает, классификация по типу привода и принципу действия, какие бывают поломки и как их выявить. Обещаю, будет интересно!
Что это такое в машине?
Что такое трансмиссия автомобиля простыми словами? Скажу кратко — это определённые сборочные механизмы, которые соединены в единое целое для того, чтобы осуществить передачу «потока» энергии от его источника к колёсам автомобиля. Если бы не было этой конструкции, то было бы невозможна мгновенное срабатывание тормозной системы, езда задним ходом и управление в потоке машин.
Этот термин в переводе с латинского звучит так: «transmissio». Это слово дословно переводится как передача или пересылка. Проектированием деталей в трансмиссии занимаются только лучшие автоинженеры.
Где находится эта конструкция? Под днищем автомобиля, он берёт начало от коробки передач, а заканчивается в области задних колёс.
Фото ттрансмиссии
Каким требованиям должна соответствовать трансмиссия?
- Надёжность и безопасность.
- Лёгкость рулевого управления, особенно при прохождении поворотов.
- Максимально возможный показатель передачи мощности.
- Минимальный вес всех составных деталей.
- Низкий уровень шума во время работы.
- Высокий КПД.
Чем правильней и эффективней будут работать составные части трансмиссии, тем выше безопасность водителя, меньше расход топлива и износ трущихся деталей. Разумеется, это непосредственно влияет на те характеристики, которые указаны в техническом паспорте и гарантированы производителем.
Ещё существует такое понятие, как коэффициент полезного действия трансмиссии (КПД). Он рассчитывается как произведение КПД механизмов, включённых в её состав. Это эффективная характеристика, обозначающая отношение полезной энергии к затраченной. Проще говоря, если КПД будет низким, то это значит, что сил затрачено много, а результата нет. КПД трансмиссии современных автомобилей варьируется от 0,82 до 0,94.

Этот параметр трансмиссии непостоянен в течение всего срока работы машины. При эксплуатации нового автомобиля механизмы притираются друг к другу и КПД повышается. Затем это значение держится на протяжении долгого периода времени, а когда движущиеся детали изнашиваются, то показатель падает. После капитального ремонта КПД возрастает, но уже никогда не достигает максимального значения.

Назначение
Все детали, которые влияют на передачу крутящего момента от маховика мотора к ведущим колёсам, входят в состав трансмиссии. Автомобиль без особых усилий трогается с места и движется с нужной скоростью.
Для чего необходима эта система механизмов?
Главной функцией трансмиссии является передача, распределение и изменение крутящего момента от двигателя к ведущим колёсам автомобиля. Для чего служит трансмиссия? Это посредник между двигателем и ведущими колёсами, без которого было бы невозможно начать движение автомобиля.
На что ещё влияет трансмиссия?
- Обеспечение нужного показателя тяги и скорости автомобиля при движении и поворотах.
- Простота управления автомобилем. Благодаря этому снижается усталость и напряжение шофёра при длительных поездках.
- Увеличение безопасности и надёжности транспортного средства.
- Продление «жизни» двигателя, снятие с него лишней нагрузки.
Без трансмиссии бы не получилось бы входить в повороты
Также некоторых интересует вопрос, какую функцию не выполняет трансмиссия? Вот верный ответ: она не обеспечивает движение транспортного средства в заданном направлении.
Устройство
Как правило, автопроизводители применяют в своих автомобилях автоматическую и механическую трансмиссию. Дополнительно машины могут быть передне- , задне- , а также полноприводными. Это зависит от того, на какие колёса подаётся крутящий момент. Поэтому тип привода непосредственно влияет на то, какие элементы входят в трансмиссию.
Что относится к трансмиссии? В стандартный набор трансмиссии входят следующие составные части:
- Сцепление.
- КПП – коробка передач.
- Дифференциал.
- Полуоси – валы привода колёс.
- Главная передача.
- Шарниры равных угловых скоростей.
Как выглядит трансмиссия
В зависимости от типа привода в сборку трансмиссии могут входить такие механизмы, как раздаточная коробка, карданная передача и муфты. Именно эти основные части автомобиля соединяет трансмиссия для обеспечения эффективности транспортного средства. Иные узлы и механизмы не относятся к трансмиссии автомобиля.
А что входит в трансмиссию гусеничных транспортных средств?
- Бортовой редуктор.
- Входной редуктор.
- Механизм поворота.
- Сцепление или главный фрикцион.
- КПП.
Также некоторые задаются вопросом: «Что входит в трансмиссию грузового автомобиля?» Кроме основных механизмов здесь дополнительно включают промежуточный средний ведущий мост, раздаточная коробка, коробка отбора мощности. В больших автопоездах по езде на твёрдом дорожном полотне трансмиссия есть только в тягаче. А при езде по бездорожью трансмиссия ставится ещё в ведущих мостах прицепов.
Общая схема трансмиссии грузового автотранспорта

А что в трансмиссии вращается быстрее всего? При движении авто коленчатый вал ДВС вращается со скоростью до 7000 оборотов в минуту, а колёса при этом в 4 раза меньше, а при плохих условиях ещё медленнее.
Перейдём к подробному описанию всех деталей, включённых в трансмиссию.
Сцепление
Это комплекс деталей (диски, маховик, вилки выключения, первичный вал коробки), назначение которых – кратковременное разъединение мотора с коробкой передач. Сцепление расположено между ДВС и коробкой передач. Это нужно для того, чтобы автомобиль пришёл движение, а также для плавного переключения скорости передач. Сцепление находится в авто с механической либо роботизированной коробкой передач. Поэтому им управлять может как водитель, так и электроника, автоматически переключающая скорости.

Дополнительное предназначение сцепления в том, что оно помогает защитить детали двигателя и трансмиссии от поломок при резкой нагрузке.
Когда левая педаль нажата – ведомый и ведущий диски разъединяются, можно переключать нужную передачу. А если педаль не нажата, то эти самые диски плотно соединены друг с другом. Важно понимать, что этот достаточно хрупкий механизм чувствителен к неверным действиям водителя. Если резко включать сцепление, то оно сломается по причине «сгорания» трущихся деталей.

Как правило, чаще применяется фрикционное сцепление, действие которого основано на силе сухого трения. В автомобилях с механической КПП применяется сухой тип трения без смазывающей жидкости. В обычном состоянии диски прижаты друг к другу при помощи пружин. Это помогает передавать энергию от сгорания топлива в трансмиссию. Если водитель нажмёт на левую педаль, то диски разъединятся, и передача потока энергии останавливается без остановки работы двигателя. Когда снова потребуется начать движение, то надо плавно отпустить педаль, чтобы диски вновь соединились. Сухое сцепление часто применяют на автомобилях с полным приводом.
А в автомобилях с автоматической КПП сцепление выглядит в форме двух турбин, которые напрямую связаны с трансмиссией и мотором. Детали вращаются в моторной жидкости. Ведущий гидротрансформатор передают энергию в моторное масло, от движения которого начинает двигаться ведомая турбина. Мокрое сцепление более надёжное, но и цена его выше. Также существуют гидравлическое и электромагнитное сцепление, но они получили не такое большое распространение.
Коробка передач (КПП)
Это самый сложный механизм в трансмиссии. Коробка передач помогает изменить передаточное число для эффективного режима мотора в любых дорожных условиях. Благодаря этому двигатель работает в стабильном режиме, без резких скачков оборотов, а машина двигается с той скоростью, которая необходима в данный момент времени. Дополнительно КПП переключает движение на задний ход.

Таким образом, коробка передач изменяет крутящий момент, подаваемый на колёса, направление движения транспортного средства, а также его скорость. Кроме этого, КПП может на долгое время разъединять мотор от трансмиссии.
КПП могут быть следующих типов:
- Автоматическая («автомат»). Здесь переключение скоростей происходит автоматически. Из минусов – медленный разгон и повышенное потребление топлива.
- Механическая («механика»). Здесь переключение позиций передач происходит в ручном режиме при помощи рычага. Этот тип КПП надёжен и прост в управлении.
- Вариатор. Здесь происходит плавное изменение крутящего момента. Это так называемые бесступенчатая коробка передач.
- Робот. Это механическая КПП, где сцепление и переключение передач происходят автоматически.
Коробка передач помогает двигателю «приспосабливаться» к нужным условиям. Например, при езде по бездорожью на низкой передаче мотор работает сильнее, а колёса вращаются медленно, что помогает преодолеть даже сложные участки пути. А при езде на трассе при включении высокой передаче двигатель работает в экономичном режиме, а колёса вращаются быстрее.
Ведущий мост

Мосты в трансмиссии — это опоры, к которым крепится рама автомобиля. Ведущий мост получает крутящий момент от трансмиссии, что приводит колёса в движение. Ведомый мост – это просто опора. Мосты могут быть задними, передними, а также средними (их ставят в грузовые автомобили).
Дифференциал

Дифференциал – это комплекс шестерён, которые вращаются с 2-мя степенями свободы. Для чего это нужно? Для того, чтобы делить крутящий момент на 2 потока, который заставляет крутиться колёса. Простыми словами, он распределяет скорость вращения по полуосям ведущего моста в зависимости от внешних условий. А работает он вместе с главной передачей.
Например, при повороте налево левые колёса движутся по меньшей траектории, чем правые. Таким образом, левые колёса движутся несколько медленнее. Наличие в автомобилях блокировки дифференциала позволяет двигаться двум колёсам на одной оси с равной скоростью. Устройство держит вращение колёс под своим контролем, меняя их скорость, чтобы не допустить их проскальзывание на неровном дорожном покрытии (особенно это важно при езде на скользкой дороге).
Самая важная характеристика дифференциала – это коэффициент блокировки, который обозначает соотношение крутящего момента одного колеса к такому же показателю другого. Грубо говоря, от коэффициента блокировки зависит проходимость. Чем выше этот показатель, тем лучше проходимость. У стандартных дифференциалов он равен 1, а у более усложнённых механизмов он может быть со значением 5.
Расположение дифференциала напрямую зависит от типа привода:
- Полный – в раздаточной коробке;
- Передний – в коробке передач;
- Задний – в картере.
Раздаточная коробка

В простонародье эту деталь называют «раздатка». Эта деталь устанавливается только в полноприводных автомобилях для распределения вращения между всеми колёсами. В раздаточной коробке может содержаться демультипликатор, который во много раз увеличивает крутящий момент при прохождении тяжёлых участках пути.
Карданный вал (передача)

Карданный вал – это механизм, который обеспечивает передачу крутящего момента от КПП к задним колёсам. Как правило, эту деталь устанавливают в полноприводных или заднеприводных транспортных средствах, чтобы передавать вращение между разными мостами. Например, в переднеприводных автомобилях вращение двигателя передаётся к ведущей оси валами из кардана КПП.
Вал содержит 2 части, который соединены друг с другом под углом. В состав кардана входят муфты, валы, шарниры, шлицы, промежуточная опора. Выглядит карданная передача в виде трубы, а благодаря дополнительным деталям она может менять свою длину, а также изгибаться. А это очень важно при езде по ухабам, когда колёса движутся вверх и вниз, а расстояние от КПП до главной передаче постоянно изменяется.
Кардан считается важным механизмом, который помогает плавно передать крутящий момент от КПП к главной передаче при движении по неровной дороге, даже под определённым углом. Дополнительно кардан снижает колебания кузова при движении автомобиля.
Карданный вал помогает передать крутящий момент от вторичного вала КПП на вал главной передачи, который находятся под углом друг к другу.
Главная передача

Это узел, который передаёт крутящий момент напрямую к ведущему мосту. В состав устройства входит полуось, шестерни, сателлиты. Одна из важных функций главной передачи – это повышение крутящего момента и уменьшение вращения ведущих колёс.
Существует одинарная передача, а также двойная, которая имеется у грузового автотранспорта с большим передаточным значением. А на заднеприводных авто используется так называемая гипоидная главная передача, которая располагается в картере моста. В переднеприводных автомобилях главная передача находится в КПП недалеко от дифференциала.
ШРУС

ШРУС – это шарнир равных угловых скоростей, который располагается на ведущих полуосях. Он является самым последним узлом трансмиссии, который непосредственно связан с крутящим моментом. Этот механизм необходим, чтобы точно «передать» вращение от дифференциала на колёса, причём неважно под каким углом они находятся. Внутренние и внешние ШРУСы обеспечивает постоянную связь дифференциала с колёсами при движении в любых дорожных условиях.
Принцип работы
Давайте подробнее рассмотрим, как устроена трансмиссия и какой у неё принцип действия. Каким образом энергия, появившаяся в двигателе, передаётся на колёса и благодаря этому автомобиль может двигаться?
Строение трансмиссии
Пошаговый принцип работы:
- В результате срабатывания системы зажигания создаётся высокое напряжения для формирования искры, которая воспламеняет топливовоздушную смесь. После сгорания топлива коленвал двигателя начинает своё вращение. Эта деталь соединена с маховиком, а он – со сцеплением. При обычном режиме работы сцепление всегда соединено с маховиком, и в результате этого коробка передач тоже всегда находится во «включённом» состоянии. Перед тем как переключить передачу, сцепление разъединяет постоянную связь между валом КПП и маховиком. А когда переключение выполнено – сцепление восстанавливает эту связь обратно.
- Коробка передач может выбирать оптимальное передаточное число при помощи разного набора шестерён. Каждая пара шестерён имеет разное передаточное число, что позволяет менять значение крутящего момента и скорости вала. Отмечу, что одновременно может происходить сцепка только одной пары шестерён при выборе определённой передачи. Другие шестерни будут просто работать вхолостую. Двигатель, сцепление и коробка передач находятся в одном корпусе и называется это трио — силовой агрегат.
- Затем крутящий момент передаётся на главную передачу (напрямую или через карданный вал). Главная передача уменьшает высокую скорость вращения (она слишком большая для колёс) и передаёт вращение на дифференциал.
- Дифференциал распределяет крутящий момент на полуоси ведущих колёс. Полуоси получают ту долгожданную энергию, которая будет передана ведущим колёсам. ШРУСы помогают сохранять нужную скорость при езде по неровной дороге. Автомобиль начинает своё движение.
- В заднеприводную трансмиссию добавлен карданный вал, который передаёт вращение от заднего моста к переднему. А в полноприводный автомобиль добавлена раздаточная коробка, которая обеспечивает «превращение» всех колёс в ведущие.
Видео: Трансмиссия автомобиля. Общее устройство, принцип работы и строение трансмиссии в 3D
Рассмотрим подробнее, как классифицируют трансмиссии по методам передачи энергии.
- Механическая. Передаёт механическую энергию от двигателя.
- Электрическая. Она преобразует механическое движение в электрическую энергию. Затем она «превращает» её обратно в механическую и передаёт на ведущие колёса. Чаще всего такую трансмиссию применяют на мощных грузовых машинах.
- Гидравлическая. Преобразует механическую энергию в давление потока жидкости, а затем обратно превращает в механическую и подаёт её на колёса. Нечасто применяется в машиностроении. Этот тип применяют на подвижных транспортных средствах (экскаваторах и т.п.).
- Комбинированные (гибридные) трансмиссии. Например, это гидромеханическая и электромеханическая. Это комбинации 2 разных типов трансмиссий.
Рассмотрим каждый вид в этой классификации трансмиссий более подробно.
Механическая
Это самый популярный вид трансмиссии, который применяется на большинстве легковых автомобилей. Устройство работает только при помощи механических деталей (фрикционы и шестерни).


Минусы – это не совсем плавное переключение передач, что в свою очередь приводит к нерациональному использованию мощности мотора. А также начинающим водителям будет сложновато привыкнуть к управлению автомобилей с механической коробкой передач при помощи рычага (это не касается спортивных авто, где переключение происходит автоматически).
Интересно! Механическая трансмиссия применялась во времена СССР при проектировании танков Т-55, Т-62, Т-64, Т-72, Т-80.
Какая трансмиссия называется бортовой и где она применяется? На тракторах, комбайнах, дорожной технике и некотором скоростном гусеничном автотранспорте устанавливается бортовая трансмиссия (с бортовой или колёсной передачей). Эти агрегаты ставятся перед ведущими колёсами или в них самих. Это сделано для того, чтобы передавать максимальный крутящий момент на ведущие колёса.
Гидромеханическая
Это набирающая популярность трансмиссию, которая применяется в автомобилях с автоматической коробкой передач. Здесь применяется как гидравлические, так и механические детали. Механическая энергия «превращается» в движение масла в гидротрансформаторе (аналог сцепления). Крутящий момент передаётся без рывков и искажений, ступенчато, без участия в этом процессе водителя.

Автомобиль движется плавно, увеличивается срок службы мотора и других элементов трансмиссии. Применение гидромеханической трансмиссии помогает эффективнее проходить тяжёлые участки пути (снег, песок) благодаря постоянной тяге и малой скорости вращения ведущих колёс.
Из минусов можно отметить – повышенный вес конструкции, сложный ремонт, высокая цена автомобиля. Также снижается коэффициент полезного действия двигателя.
Также такой вид трансмиссии применяется в ж/д технике, тракторах, танках (Леопард-2, М1 Абрамс).
Гидравлическая
Синонимы этого типа трансмиссии – гидростатическая, гидрообъёмная, а также маслогидравлическая силовая. В этом типе трансмиссии энергия двигателя передаётся при помощи аксиально-плунжерных механизмов – гидравлических машин. При передаче крутящего момента происходит сжатие жидкости. При этом есть возможность располагать детали трансмиссии на большом расстоянии друг от друга с высоким количеством степеней свободы и крутящим моментом. Здесь необходим строгий контроль за качеством используемой жидкости и установка гидромуфты для каждой передачи.

Как правило, «гибкая» трансмиссия применяется в теплоходах, строительных катках, станках, железнодорожной и авиационной технике.
Электромеханическая
Это самый современный тип трансмиссии, который стал популярен после массового производства электрокаров. Самый главный элемент здесь это тяговый электромотор (один или несколько), а также дополнительные детали — генератор электрического тока, электрическая система контроля, а также провода, которые соединяют части трансмиссии. Питает эту систему тяговый аккумулятор.

Преимущество электромеханической трансмиссии в мгновенной реакции на изменение параметра крутящего момента, расположение элементов на большом расстоянии друг от друга, что позволяет создавать удобные конструкции. Минусы – высокая цена, невысокий КПД двигателя, большой вес и размер.
Некоторые спрашивают, «Какие виды трансмиссий применяются в карьерном автотранспорте»? Чаще всего в карьерных самосвалах применяют именно электромеханическую трансмиссию.
Электромеханическую трансмиссию дополнительно применяют в тракторах, военной технике, тепловозах, автобусах и морских судах. Некоторые виды транспорта «включают» двигатель только после достижения определённой скорости, а до этого времени колёса движутся при помощи электрического тока.
Теперь перейдём к описанию типов приводов и особенностей используемых в них трансмиссий.
Зависимость трансмиссии от привода
Для разных типов трансмиссий конструктивные особенности различаются. Всего существуют следующие типы привода:
- Переднеприводный.
- Заднеприводный.
- Полноприводный.

Существует такое понятие, как колёсная формула автомобилей, которая включает 2 цифры. Расшифровка: первая – это общее количество колёс, а вторая – количество ведущих. Так передне- и заднеприводные обозначаются 4×2, а полноприводные – 4×4.
Рассмотрим их более подробно.
Переднеприводный
В них применяется классическая трансмиссия, принцип работы который был указан выше. Вращение от мотора передаётся только на передний мост через КПП, главную передачу и полуоси.
Дифференциал и главная передача размещаются в коробке передач в едином корпусе.
Заднеприводный
Здесь присутствуют все элементы переднеприводной трансмиссии. Здесь ведущая ось – задняя, а крутящий момент передаются при помощи дополнительного элемента — карданного вала. Он расположен между КПП и главной передачей и является посредником в передаче энергии.
Полноприводный
Крутящий момент передаётся одновременно на передний и задний мост. В трансмиссию дополнительно включают раздаточную коробку, которая передаёт вращение на все полуоси. А за распределение крутящего момента между колёсами отвечает межосевой дифференциал.
В трансмиссию грузового автомобиля входит дополнительная ось, чтобы уменьшить давление на асфальт и его износ.
Виды полных приводов:
- Постоянный полный привод. Все колёса являются ведущими постоянно. Благодаря этому улучшается разгон и управляемость, уменьшается пробуксовка колёс за счёт равномерного распределения тяги.
- Подключаемый. Ведомая ось становится ведущей, когда водитель принудительно включит полный привод.
- Автоматически подключаемый. Активируется при пробуксовке ведущих колёс.

Наиболее частые признаки поломки трансмиссии
Многие детали трансмиссии со временем изнашиваются или ломаются. Какие частые поломки могут произойти?
- Сцепление является так называемым расходным материалом. Здесь ведомый диск ломается чаще всего. При этом появляется скрежет, проскальзывание и нестабильная работа сцепления. В этом случае ведомый диск заменяют, а другие детали осматривают на предмет износа. Обратите внимание: пробуксовывание сцепления может спровоцировать износ фрикционов ведомого диска. Это ведёт к ограничению свободного хода педали, ухудшению разгона, снижение передачи крутящего момента, или авто может вообще не двинуться с места. Срок работы сцепления напрямую зависит от манеры вождения автомобиля.
- КПП – коробка передач является самым сложным механизмом в трансмиссии. Распространённая причина поломок – это редкая замена трансмиссионного масла. Ведь именно оно защищает все узлы коробки передач от износа. Если жидкость вовремя не заменить, то оно будет усиливать износ КПП. При поломке коробки передач появляются сторонние стуки, шум, шелест, даже при переводе рычага в нейтральное положение, происходит плохое срабатывание при переключении передач, а также подтекает масла из КПП, запах которого появляется в салоне. В этих случаях надо незамедлительно обратиться в автосервис. Рекомендуется строго следить за состоянием КПП (вовремя менять жидкость в системе охлаждения, проводить диагностику электронного блока управления и т.п.)
- В карданном вале может выйти из строя шарнир по причине естественного износа. Если появляются неисправности в работе карданной передачи, то во время движения слышен скрип и ощущается вибрация.
- Дифференциал и главная передача часто выходят из строя при экстремальных нагрузках и утечке масла через сальники. Если не хватает смазки, то шестерни быстро изнашиваются. При движении присутствует шум, вибрация или постукивания во время трогания автомобиля с места.
- ШРУСы ломаются редко, несмотря что на них приходится высокая нагрузка. Если вода попадёт через изношенные пыльники в шарниры угловых скоростей, во время движения будет слышен хруст. Поэтому надо вовремя менять расходники ходовой части и проверять состояние подвески.
Видео: Общее устройство трансмиссии
Трансмиссия – это ключевой механизм в современном автомобиле, который передаёт крутящий момент от двигателя к ведущим колёсам. Именно в этом её прямое назначение. Тип устройства зависит от вида привода в авто и способа передачи энергии.
Самая надёжная трансмиссия – механическая, работа которой зависит только от регулярного прохождения техобслуживания. Чаще всего выходит из строя диск сцепления, а самая дорогостоящая деталь – это коробка передач (КПП), особенно если идёт речь об автоматической (АКПП).
В автомобили всё больше внедряют новые разработки, где электронные компоненты, шестерни заменяются электрокабелями и электромоторами, которыми управляет бортовой компьютер. А вершиной технического прогресса является экологический чистый авто (например, на водородном топливе), где такой механизм как трансмиссия вообще отсутствует.
Давай, оцени статью!
Средняя оценка 4.4 / 5. Количество оценок: 29
Источник http://www.bestreferat.ru/referat-187248.html
Источник Источник Источник Источник http://pro-sensys.com/info/articles/obzornye-stati/transmissiya/
Источник Источник http://motorist.guru/ustrojstvo/transmissiya.html